进出口压力对计量泵的选型影响
导读:进出口压力对计量泵的影响文章热度:632化工用户对往复式计量泵的进口条件要求主要表现在以下几个方面:(1)适应高压差小流量及流量调节范围宽的运转工况;(2)尽可…
进出口压力对计量泵的影响
化工用户对往复式计量泵的进口条件要求主要表现在以下几个方面:(1)适应高压差小流量及流量调节范围宽的运转工况;(2)尽可能使泵不需灌引,具有自吸上能力;(3)流量按需要线性调节。在实际工程应用中,由于工况不同,泵进口处的压力是千差万别的,有的装置中泵进口处压力较低,而有的装置在泵进口处压力很高。就一般情况而言,为了节约资金,总是尽可能的提高泵的安装高度,在泵的进口形成低压甚至真空,希望泵有较好的汽蚀性能和能承受尽可能大的吸上真空(泵进口处压力尽可能小);有时由于工艺或其它方面的要求,泵进口处必须有较高的压力,而这可能对泵的使用性能、甚至使用寿命造成不利的影响。本文从低压和高压两方面出发探讨,进口压力对泵可能带来的不利因素,以及实际工程中所遇到的一些问题及其解决方法。
2 进口压力低时对泵的影响
2.1 低压进口对泵汽蚀的影响
一般情况下,泵进口压力和泵腔内的压力关系如下式所示
由式(1)可知,泵腔内的最小压力随着泵进口压力的减小而减小,且与管中摩擦损失、活塞的线速度的大小有很大的关系。要想保证泵的正常工作就必须保证泵在工作时泵腔内不发生汽蚀,即必须满足:Pclmin≥P0
其中Ps为液面上的压力,它与泵的进口压力仅相差一个吸上的高度,从上式也同样可以看出,进口压力越低,泵的自吸高度越小(不考虑出口的影响)。因而在泵进口压力低的工况下,在选型或设计时要充分考虑到这一因素,尽量选择自吸性能好或尽量减小泵的余隙容积等以提高泵的自吸性能来满足低压进口对其造成的影响。式(5)是理想情况下的近似理论计算,在实际生产中,还会有其它因素与低压进口共同影响泵的自吸。在选型和设计时要根据实际情况,充分考虑到其它因素对其实现自吸所带来的不利影响:
显而易见,对具有相同参数的隔膜与柱塞计量泵而言(即泵速、柱塞与进出口阀组均相同),假定柱塞运动所产生的最大真空值相等,由于隔膜计量泵液压补偿放气系统的损耗、隔膜挠曲变形消耗及余隙容积较大等原因,隔膜计量泵与柱塞计量泵相比之下,其自吸人能力大幅度下降,通常与柱塞计量泵吸人性能相差2~5mH20;当隔膜较厚较硬机械变形能力差时,隔膜计量泵就会因其进口压力低无法实现自吸而不能正常工作。因而在泵选型时应充分考虑这一因素的影响,泵进口压力小且又需要较高的自吸能力时应优先选用柱塞式(活塞式)泵,泵进口压力较大对自吸上能力要求不严时可选用隔膜式泵。
3.2 高压进口对泵使用寿命的影响当泵的人口压力过高时,还会影响泵强度进而使动力端部件(曲轴、轴瓦)使用寿命缩短。正常情况下,泵在吸程时,在主驱动力的作用下,曲轴拉着连杆作往复运动,连杆与曲轴的接点1(如图3)在连杆的前端、曲轴的前端;泵在排程时,在主驱动力的作用下,曲轴压着连杆作往复运动,连杆与曲轴的接点2(如图4)在连杆的前后端、曲轴的前后端接触点周期交替。如果泵进口压力过高,在吸程时,由于进口压力高,连杆与曲轴作用于接触点2,排程时两者也作用于接触点2,连杆始终受力于前端、曲轴也始终受力于前端,恶化了连杆与曲轴的受力情况,而同时,由于接触点2始终没有润滑油润滑,也将会降低泵的使用寿命。
式中Pv—液体在工作温度下的饱和蒸汽压力,Pa否则将会引起工作腔内液体汽化,造成柱塞(活塞)与液体脱流,从而引起工作腔内的撞击、噪声、振动、流量减少、断流甚至破坏机械零件酿成不良后果。
在低压进口时,为保证不发生汽蚀,在设计时就必须提高泵的汽蚀性能。从式(1)可知,适当的降低活塞的线速度,降低泵速便可以提高Pclmin值,以达到所需效果。还可通过改进进、出口阀的设计,减小进、出口阀的阻力,降低吸入阻力水头来实现提高泵的汽蚀性能,从而达到既能适应进口压力低的工况又不发生汽蚀的要求。
2.2 低压进口对泵自吸的影响
低压进口不仅对泵的汽蚀有很大的影响,而且还会影响泵工作时能否实现自吸,即泵工作腔内无液体时能否排气以保证泵腔内充满液体并使泵进入正常运转,对往复泵而言,就是其自身必须具备能排尽空气的能力。保证泵自吸能力的必要条件为:
(1)当吸入行程结束时(柱塞后死点),应使工作腔内空气压力小于泵进口侧静吸入压头,使进口管空气被不断地吸人工作腔;
(2)当排出行程结束时(柱塞前死点),使工作腔内空气压力大于泵出口侧的阻力,将液缸内空气排出。假定腔内空气压缩按等温过程,则有:
(1)液力端密封诸如进料箱、柱塞处密封不严,造成外界空气进入泵腔导致吸入腔真空下降,而吸入时吸入腔需要低压以满足式(3),内外产生压力差才能自吸。当泵腔内形成不了真空或真空度下降后导致压力差减少,就会导致自吸效果下降或不能自吸。因而泵的密封副的可靠性与结构研究是至关重要的。
(2)计量隔膜泵三阀系统不良对吸上能力产生影响。隔膜液压腔有气体没有及时排除,使隔膜两侧液体压强不平衡,使隔膜无法正常运动;液压腔的压力太大,隔膜无法向柱塞侧运动,导致隔膜运动停止,泵腔内无必需真空度。我所设计生产的YJM型可遥控变速隔膜计量泵采用了独创先进减速传动机构及特制隔膜、三阀及密封结构的液力端,无蜗轮蜗杆减速,使泵结构紧凑、简单;泵流量调节不受电网电压影响易闭环自动反馈控制,自吸能力更稳定。
(3)进口管路流量脉动较大影响自编吸上能力。由于往复计量泵单脉冲液流影起压力波动,可增加进口预压式稳压器或常压空气室。
(4)计量泵吸入管路设置不合理。液体在管路中的管阻损失与管路的长度,弯头的数量有很大关系。管路越长、弯头越多沿程水头损失越大;相同的流量下,管路越细,流速越快,静压头也相对减小。上述两种情况都会促使泵的进口压力减小,恶化泵的自吸入条件。
(5)计量泵进口处真空度过大无法吸入。泵的安装高度过低,管路过长,也会使泵的进口处真空度过大,使泵无法自吸,可提高泵的安装高度。
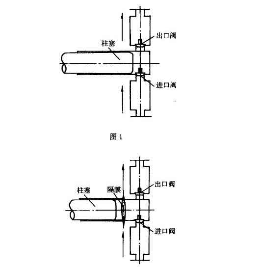
2.3 低压进口对不同型式的泵的影响往复式计量泵按液力端的不同可分为柱塞式(活塞式)(见图1)和隔膜式(见图2)(动力端相同)。柱塞式(活塞式)液力端借助柱塞及密封元件形成工作腔,通过柱塞的周期性的往复运动,使工作腔内的压力的大小交替变化,从而实现吸人和排出的功能。隔膜式液力端借助于隔膜(膜片、波纹管等)形成工作腔,通过隔膜的周期性变形代替柱塞的周期性的往复运动,使工作腔内的压力的大小交替变化,从而实现吸人和排出的功能。
3 进口压力较高时对泵的影响
3.1高压进口对泵性能参数的影响当泵的进口压力高至无需泵腔内产生真空,由进出口自然压力差便可打开泵的进口阀使介质进入泵腔时,我们就可认为泵处于非正常工作状态中。在这种工况下工作会严重影响计量泵的计量精度,影响泵的性能参数。由于进口压力过大,泵的进口阀始终处于开启状态,泵总有一最小流量,无论如何调节泵,只能将流量调到个大致的范围,无法达到预期的目的。在工程应用中,这种情况还是比较常见的,许多用户在使用时由于不太熟悉产生上述情况的相关机理,往往对此束手无策或认为泵有质量问题。其实上述现象是在特定的工况下产生的,对进、出口阀进行适当改进便可避免。如果在设计时没有考虑,在使用现场不改变泵的结构通过以下方法便可解决问题:
(1)在泵的出口加一保压阀,保压阀的压力根据系统而定,最大保守压力可取倒灌压力差;
(2)在出口管路加一缓冲管路,缓冲管路的高度也视系统而定,保守高度与进口液面的最高处平齐即可;

4 结束语
进口压力对泵的影响是多方面的,甚至有时对同一台泵、同一个工况也必须同时从“高压”和“低压”两方面考虑,兼顾两方面的需要。当介质的汽化压力很高时,为了保证泵送过程中不发生汽蚀,其上必须有很高的压力。从避免汽蚀的角度应按进口压力低的工况来分析;如果它的压力同时又影响泵的寿命时,则又必须从进口压力高的角度去研究。
当泵的出口处于真空状态时,即使进口压力很低,也很容易出现由于其进出口压差大而自动打开进、出口阀的现象,这就必须按进口压力高去考虑它;此外,也还应考虑进口压力低对泵带来的诸多不利影响。
进出口压力对计量泵的影响
文章热度:632
化工用户对往复式计量泵的进口条件要求主要表现在以下几个方面: (1)适应高压差小流量及流量调节范围宽的运转工况;(2)尽可能使泵不需灌引,具有自吸上能力;(3)流量按需要线性调节。在实际工程应用中,由于工况不同,泵进口处的压力是千差万别的,有的装置中泵进口处压力较低,而有的装置在泵进口处压力很高。就一般情况而言,为了节约资金,总是尽可能的提高泵的安装高度,在泵的进口形成低压甚至真空,希望泵有较好的汽蚀性能和能承受尽可能大的吸上真空(泵进口处压力尽可能小);有时由于工艺或其它方面的要求,泵进口处必须有较高的压力,而这可能对泵的使用性能、甚至使用寿命造成不利的影响。本文从低压和高压两方面出发探讨,进口压力对泵可能带来的不利因素,以及实际工程中所遇到的一些问题及其 解决方法。
2 进口压力低时对泵的影响
2.1 低压进口对泵汽蚀的影响
